型号 : KB-40S
品牌 : Consolidated
标识 : KB-..S
货期 : 现货
价格 : 电询   021-58777261
在线订购支持
在线订购说明
为保障消费者权益,真正做到正品交易,杜绝假冒伪劣产品
除电话订购外,本产品支持 阿里巴巴诚信通 支付宝交易。
我公司阿里巴巴店铺地址: http://qtsy021.1688.com
可以与公司客服沟通进行线上交易。
021-58777261   
联系上海祈泰
本页展示产品可直接根据以下联系方式进行订购
021-58777261
18621636333

详细数据

订购指南

库存轴承型号: KB-40S
LINEAR RECIRCULATING BALL BEARINGS - METRIC 轴承尺寸 - OPEN
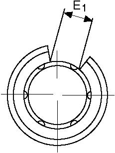
轴承尺寸 (metric) d 40

KB..S- Open

D 62
B 80
C 60.6
E1 16.8
轴承尺寸 (inch) No. of Circuits 5

重量:磅
1.140
进口轴承型号兑换 FAG LAN40x62x80A
INA KBO 4080
SKF -
STAR 0630-040-00
1) Single and double sealed bearings are also available in all types. Add suffix "D" for single sealed. Add suffix "2D" for double sealed.
2) Also available in stainless steel. Consult factory for availability.
库存其他型号
GEZ-500 C-2RS轴承 K-16 x 22 x 12轴承 RMS-23 1/2 -LL轴承
95748轴承 822N...100 x 130 x 13mm轴承 KD045ARO轴承
2322轴承 RF4012X轴承 HJ-182620-2RS轴承
版权所有 © QT086.com All Rights Reserved